DB视讯

目今位置:首页 > 新闻中心

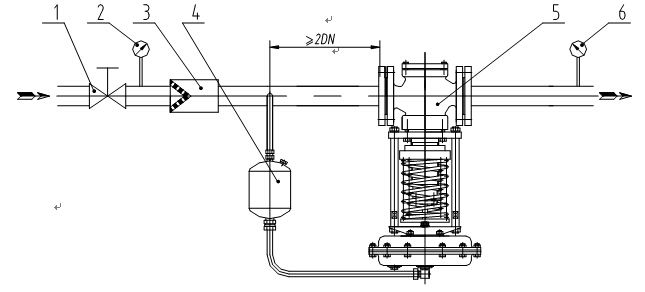
自力式调理阀装置图

作者:匹特流体  泉源:DB视讯  更新时间:2017-10-11 14:41:29  点击次数:

自力式调理阀装置图

自力式调理阀地面装置图

  自力式调理阀的装置与调试

  一、带指挥器型调压原理

  指挥器操作型自力式压力调理阀无需外加能源,使用被调介质自身压力作为动力源,引入指挥器以控制主阀的阀芯位置来改变阀门的介质流量,使阀后压力坚持恒定。介质由阀体上箭头偏向流经阀体,上游压力P1经由滤减压阀进入指挥器B室作为驱动源使用。受控的下游压力P2经到茏鬈传送到指挥检测室A,并在此转换成定位力。当下游压力升高或降低时,使指挥器阀芯位移,气源进入C,使调压阀趋向开启或关闭,从而抵达减压、稳压的目的。

  二、装置注重事项:

  1、阀门装置偏向与流向一定要包管一致。

  2、阀门使用工艺参数一定要与名牌一致。

  3、管道内要求介质清洁,无粉尘,坚硬的颗粒。

  三、调试

  1、缓慢翻开阀前手动阻止阀,并视察阀后管道压力表,审查压力是否在阀门设计值内。(注:瞬间翻开阀前控制阀门)

  2、如阀后压力与设计值一致,无需调试。

  3、如阀后压力不在工艺值规模内,首先翻开防雨罩,调解蝴蝶螺母。(顺时针调理,阀后压力增大,反之减小。)

  4、如阀门有震荡或压力不稳固。先视察减压阀压力,是否在2-2.5kg规模内。

  5、如不在2-2.5kg规模内,调理减压阀使值落在以上规模内。

  6、若是震荡,翻开限流阀防雨罩,松开拼紧螺母,顺时针转动限流阀芯螺杆究竟后再逆时针转动一周,再视察阀门是否震荡。

  7、调试完毕后,将拼紧螺母拼紧。

本文链接:/news/news2017101131.html
上一篇:没有了!
下一篇:什么是法兰式球阀?

推荐文章

电动调理阀是怎么实现调理的-2020-06-08
自力式压力调理阀调理要领-2020-05-26
电动调理阀阀门-2020-05-05
气动调理阀说明书-2020-04-24
气动调理阀故障剖析和处置惩罚要领-2020-04-24
自力式调理阀怎样调解压力-2020-04-18
电动调理阀规格型号-2020-04-18
气动调理阀的结构和原理-2020-04-18
网站地图